最近国家逐渐对干细胞研究和临床试验进行规范,越来越多的干细胞临床研究项目都通过了国家卫健委和药监局的双备案,多达100多种干细胞药品进入临床试验阶段,而且许多医院也纷纷开展了研究者发起的干细胞临床研究。
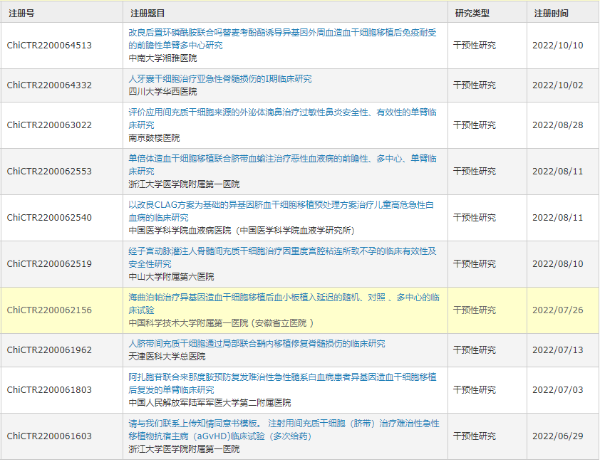
以下是2022年中国干细胞临床试验注册中心,2022年注册的临床项目。





入组干细胞临床试验会遇到哪些问题呢?
问题一:临床试验安全吗?
虽然大部分临床试验都经过了早期的安全性测试,但是因为细胞来源不同、制备标准不同、临床试验方案差异等等,所以任何临床试验都有一定安全风险。
问题二:入组后一定会用上干细胞吗?
由于部分临床试验采取双盲随机对照试验,所以即便入组也不是所有人都能获得试验用干细胞。
问题三:入组后还会收取费用吗?
入组后与试验相关的检查费、治疗费、以及干细胞相关费用给与免除。
干细胞招募列表 // Mercells
脐带间充质干细胞治疗脊髓损伤临床试验
中山大学附三院 华西医院 上海市东方医院
入选标准:
1、中国公民,年龄18-65岁
2、外伤所致脊髓损伤
3、ASIA脊髓损伤分级A-D级
4、病程两周以上
5、配合完成随访
联系方式:
中山三院脊柱外科徐莹
邮箱:zssyxy93@163.com
华西医院骨科门诊黄康康
邮箱:kang233500@126.com
上海市东方医院脊柱外科门诊李立钧
邮箱:smhnf9@163.com
脐带间充质干细胞移植治疗乙肝后终末期肝硬化的临床研究
四川省人民医院
入选标准:
1、年龄在20-65岁之间(男性或女性均可);
2、确诊的慢性乙肝后终末期肝硬化,病程5年以上;
3、不适合施行肝脏移植、或者无供肝来源;
4、无严重的出血趋向或活动性出血;
5、无肝性脑病;
6、无严重心肺等全身性疾病或恶性肿瘤病史;
7、经严格内科保守治疗6月以上,症状无减轻或生活质量评分无显著改善;
8、自愿加入本研究,签署知情同意书。
联系方式:四川省人民医院 细胞移植中心肝胆外科门诊(门诊大楼2楼外科2诊室)
门诊时间:每周五下午14:00-17:00联 系 人:姚豫桐(副主任医师、副教授)
联系电话:19160363772(周一至周五,9:00-17:00)
脐带间充质肝细胞治疗肝硬化失代尝期患者的研究
烟台毓璜顶医院
入选标准:
1、年龄18-60岁(含临界值),性别不限;
2、确诊为酒精性肝硬化失代偿期(病毒性肝炎导3、致的肝硬化失代偿期不纳入研究);
4、非首次诊断且既往治疗无效或效果不明显;
5、肝功能仍处于Child-Pugh 分级A级或MELD评分<12份;
6、需间断补充白蛋白及应用利尿剂治疗;
7、白蛋白<35g/L,总胆红素<10倍正常值上限(肝细胞型肝炎)或<15倍正常值上线,凝血酶原活动度>40%【肝性脑病(Ⅱ级以下)已控制】;
8、近一个月内无消化道出血病史;
9、理解并自愿签署知情同意书。
联系方式:18653578956
人脐带源间充质干细胞治疗乙肝肝硬化(代偿期)临床研究项目
武汉大学人民医院
入选标准:乙肝肝硬化18-65岁
联系方式:电话:13720389866 微信:yyt651003
人脐带间充质干细胞治疗乙型病毒性肝炎肝硬化失代偿期的临床研究
武汉大学中南医院
入组条件:
1、 年龄在18~65周岁(包括18和65周岁),性别不限;
2、确诊为乙型病毒性肝炎肝硬化失代偿期;
3、常规内科治疗效果不佳,病情反复;
4、血浆白蛋白<35g/L,总胆红素<170μmol/L,凝血酶原活动度>30%,Child -Pugh评分≥7分;MELD评分≤15分;
5、血红蛋白>70g/L,血小板计数>3×10^9/L;
6、无条件接受肝移植;
7、 自愿参加本临床研究。
联系方式:18502747204 /027-67812588
人脐带间充质干细胞治疗糖尿病肾病的临床研究
武汉大学人民医院
入组条件:
1、病程:2型糖尿病病程5-15年;
2、年龄:30-65岁;
3、蛋白尿异常:UACR>300mg/g或24H蛋白尿定量>0.5g;
4、肾功能异常:eGFR在30-60ml/min之间;
5、肾活检:诊断为糖尿病肾病。
联系方式:15926267337/18108670268
脐带间充质干细胞治疗糖尿病肾病的有效性及安全性的临床研究
上海市东方医院内分泌科
入组条件:
1、年龄30~70周岁(含)之间,性别不限;
2、确诊2型糖尿病肾病;
3、糖尿病病程5-15年;
4、24kg/m2 ≤体重指数(BMI)≤30 kg/m2;
5、7.5%≤HbA1c≤10%;
6、应用胰岛素治疗;
7、该研究已经完成国家备案,拟招募18例2型糖尿病合并肾病患者参加此项研究。
微信号:16621382543进行咨询
脐带间充质干细胞治疗糖尿病足临床招募
海军军医大学第一附属医院
入组条件:
1、年龄18-65岁,性别不限;
2、明确诊断为糖尿病患者;
3、糖尿病足溃疡持续2周以上;
4、Wagner分级I级或II级,1cm²≤清创后创面面积≤20cm²,(有多处病变者,选择溃疡面积最大处作为目标病变),0.7<目标病变侧的踝/肱指数(ABI)<0.9,经皮氧分压(TcPO2)>20mmHg;
5、具有生育能力的女性及未绝育的男性必须同意在间充质干细胞给药后180天内采取高效的避孕措施;
6、理解并签署知情同意书,同意依照试验方案参加治疗及随访的患者。
电子邮件: 18801780080@163.com
人胎盘间充质干细胞凝胶治疗糖尿病足溃疡I期临床试验项目
1、首都医科大学附属北京同仁医院
2、武汉大学中南医院
3、南昌大学第一附属医院
4、华中科技大学同济医学院附属同济医院
5、河南科技大学附属第一医院
6、聊城市人民医院
入组条件:
1、18岁≤年龄≤80岁;
2、临床诊断为糖尿病足溃疡,Wagner分级为3级或以下;
3、糖尿病足溃疡采用常规治疗方法治疗2周或以上,溃疡无明显好转(溃疡长径或溃疡面积缩小≤40%)或继续扩大的患者;
4、外科治疗后拟试验一侧的肢体血液供应正常或仅有轻度缺血,经皮氧分压TcPO2≥30mmHg,踝肱指数(ABI)≥0.71(如ABI≥1.3,则需趾肱指数(TBI)≥0.5);
5、拟试验处溃疡形状较齐整,清创后的溃疡病灶长径≥1.5cm且≤10 cm,或清创后的溃疡病灶面积≥2cm²且≤30 cm²;如果同时有多个溃疡病灶,选择一个作为试验对象;
6、阅读并充分理解患者须知,同意参加此临床试验,并签署知情同意书。
联系方式:
1、首都医科大学附属北京同仁医院
联系电话:18804310121
2、武汉大学中南医院
联系电话:13975839369/13886079515
3、南昌大学第一附属医院
联系电话:13667001607
4、华中科技大学同济医学院附属同济医院
联系电话:18154419770
5、河南科技大学附属第一医院
联系电话:13526917542 /18737907582
6、聊城市人民医院
联系电话:15552157670
人脐带间充质干细胞注射液治疗糖尿病足创面的前瞻性、随机、对照临床研究
徐州医科大学附属医院 整形美容中心
入组条件:
1、二型糖尿病足缓则,符合1999年WHO糖尿病足诊断标准,筛选期或随机化前三个月内检测到糖化血红蛋白(HbA1C)≤10%;
2、目标肢体踝肱指数至少为0.8,无间歇性跛行;
3、目标溃疡必须具有以下特征;
4、溃疡位于足部、踝部及胫前处;
5、随机化之前至少已存在4周;
6、如有多个创面,选择符合入组标准且面积最大的一个创面进行干预和评价。其余创面常规治疗不纳入研究;
7、无肉眼可见的脓液及坏死物质
8、自愿参与本临床研究,能配合医生开展研究,并签署知情同意书。
联系方式:
李主任 15262052200/0516-85802230
人脐带间充质干细胞治疗Ⅱ型糖尿病临床研究招募
北京大学深圳医院
入组条件:
1、确诊Ⅱ型糖尿病;
2、初筛期7%≤HbA1c≤9.5%;
3、筛选期稳定至7%≤HbA1c≤9.5%;
4、18 岁≤年龄<70 岁;
5、分组前总胰岛素用量≤100IU/d;
6、基础C肽≥0.3 ng/ml;
7、理解并签署知情同意书。
电子邮箱:guotao@beike.cc
脐带间充质干细胞治疗卵巢早衰/早发性卵巢功能不全的临床研究
南京大学医学院附属鼓楼医院生殖医学中心
入组条件:
卵巢早衰(POF)的初步筛选条件:
1、年龄小于40岁;
2、原发性闭经或继发性闭经>4个月;
3、至少间隔4周以上两次FSH>40IU/L;
4、伴有潮热、出汗、情绪波动等雌激素降低等绝经期症状;
5、心、肝、肾、凝血功能良好,无内外科疾病史、恶性肿瘤病史;
6、染色体正常,无遗传性疾病。
早发性卵巢功能不全(POI)的初步筛选条件:1、年龄小于40岁;
2、卵巢基础窦卵泡数小于4枚,FSH≤40IU/L‘
3、既往IVF周期未获卵或虽有获卵但无可用胚胎4、心、肝、肾、凝血功能良好,无内外科疾病史、恶性肿瘤病史;
5、染色体正常,无遗传性疾病。
联系方式:025-68183321/68183322
脐带间充质干细胞卵巢原位注射治疗早发性卵巢功能不全的安全性和有效性临床研究
浙江大学医学院附属邵逸夫医院生殖中心&妇产科
入组条件:
1、无法接受试验要求的治疗观察流程;
2、遗传性疾病、染色体异常、有明确导致早发性卵巢功能不全/卵巢早衰的基因异常;
3、存在乳腺、子宫、卵巢肿瘤,以及任何其他良恶性肿瘤;
4、过敏体质;
5、原发性闭经;
6、子宫畸形;
7、医源性卵巢功能不全;
8、妇科急慢性炎症未得到控制(包含子宫内膜炎等);
9、薄型子宫内膜(双层子宫内膜厚度≤7mm);
10、合并子宫内膜异位症;
11、重要脏器的严重功能损害,凝血机制异常;
12、静脉血栓栓塞症高危因素;
13、术前检查血常规、大小便常规、凝血常规、肝肾功能、心电图、胸片等异常。
联系方式:浙江省杭州市上城区庆春东路3号
人脐带间充质干细胞治疗儿童痉挛性脑性瘫痪临床研究招募
十堰太和医院
入组条件:
1、年龄2-6岁,性别不限;
2、已确诊为痉挛型脑瘫;
3、GMFCS 2-5级;
4、受试者及监护人愿意并能配合完成预定的访视、治疗计划和实验室检查等试验程序,并签署书面知情同意书。
联系方式:
■儿科1病区:15871088127 13872812997
■ 联系电话: 025-68183321/68183322
人脐带间充质干细胞治疗心衰临床研究患者招募
上海市东方医院
入组条件:
1、冠心病患者药物治疗效果不佳,出现左心功能不全临床表现,EF<40%;
2、年龄小于70岁,性别不限;
3、冠状动脉造影术证实有冠状动脉慢性闭塞性病变,表现为单支或多支冠脉血管严重狭窄( ≥75% ),甚至完全闭塞;
4、患者无精神疾病及语言功能障碍,可以完全理解治疗方法。
咨询电话:15221253793
ELPIS人脐带间充质干细胞注射液治疗成年中、重度慢性斑块型银屑病患者的I期临床研究
复旦大学附属华山医院
上海市皮肤病医院
北京大学第三医院
中南大学湘雅医院
入组条件:
1、中、重度银屑病患者
咨询电话:不详
脂肪原始间充质干细胞治疗中中毒寻常型银屑病的随机双盲对照试验
广东省中医院 皮肤科
入组条件:
1、寻常型银屑病患者;
2、年龄18-65岁;
3、皮损成都为PASI>7,或BSA>10%;
4、签署知情同意书;
联系方式:广东省中医院皮肤科
脐带间充质干细胞治疗中-重度持续性变应性鼻炎患者的研究
烟台毓璜顶医院
入组条件:
1、年龄18-60岁(含临界值),性别不限;
2、符合变应性鼻炎诊断标准的中-重度持性变应性鼻炎患者;
3、变应原检查结果显示过敏原为尘螨单一过敏;
4、患者拒绝接受变应原特异性免疫治疗;
5、患者愿意接受干细胞治疗并签署知情同意书;
6、经历2年以上的抗组胺、鼻用糖皮激素等药物治疗,疗效不佳,其症状严重影响生活。
咨询电话:0535-6691999转83523
人胎盘间充质干细胞治疗烧伤患者中厚供皮区创面的随机对照临床研究
郑州市第一人民医院烧伤科
入组条件:
1、自愿参加并签署知情同意书;
2、烧伤或整形手术,需要自体中厚皮(取皮厚度0.4mm)移植的受试者;
3、年龄18~65周岁,性别不限;
4、供皮区选取躯干部或大腿外侧;
5、观察面积90cm2;
6、能配合本研究方案,接受术后定期访视者。
排除标准:
1、对海藻酸钠(凝胶成分)过敏者;
2、不能稳定控制的高血压、糖尿病受试者;
3、妊娠或哺乳期妇女;
4、受试者病情可能影响研究评估或需要合并采用可能影响疗效评估的医学治疗;
5、有急性或慢性肾脏疾病、肾功能衰竭或血清肌酐水平≥正常值上限1.5倍;
6、有急性或慢性肝脏疾病,肝功能中总胆红素、丙氨酸氨基转移酶、门冬氨酸氨基转移酶≥正常值上限2.0倍;
7、有恶性肿瘤病史者;
8、参加其他临床研究未满 3个月者;
9、使用免疫抑制剂及长期(超过 1个月)应用皮质激素者(不包含局部应用);
10、感染性疾病受试者(传染病四项任一项阳性);
咨询电话:0371-56580307
间充质干细胞治疗缺血性卒中Ⅰ/Ⅱa期临床试验(ASSIST)
首都医科大学附属北京天坛医院
入组条件:
1、18~65周岁的脑梗死康复期患者(包括亚急性期和慢性期、后遗症期,发病时间≤3年),性别不限;
2、经影像学确诊大脑中动脉供血区域的明确脑梗死灶;
3、有明确的神经功能缺损表现,如运动、认知等功能障碍(美国国立卫生研究院卒中量表7<NIHSS<21分);
4、同意在研究期间采取有效避孕措施者,且育龄期妇女妊娠试验阴性;
5、签署患者知情同意书,并同意按照研究方案的要求参加所有的访视、检查和治疗。
注:以上为部分主要标准,最终入组标准由研究医生掌握。
■咨询电话:13691253809
人源神经干细胞治疗阿尔茨海默病(AD)”的临床研究
上海市东方医院功能神经科
入组条件:
1、男性或女性AD患者,年龄50-75岁;
2、符合阿尔海默病诊断标准中可能的AD;
3、病情程度为中度AD患者:简易精神状态评价量表MMSE总分≦16;
4、受试者为小学毕(结)业及以上文化程度,有能力完成方案规定的认知能力测定和其测试;
5、生活在家中,有合适的陪护可以陪同患者进行所有门诊访视;或生活在社区公寓,有合适的陪护可以陪同患者进行所有门诊访视并且每周可以自由探视患者;
6、筛查头颅MRI+MRA与AD诊断相一致;
7、语言流利且有证据表明发病前有正常智力水平;
8、有适当的视觉和听觉功能,可以完成认知和功能评估;
9、如果服用AChEI或美金刚,必须连续服用至少4个月且在入组前至少2个月维持稳定的剂量;
10、患者和陪护主观自愿参加所有的检查与评估,并按研究要求完成所有试验。
咨询电话:15921230693(同微信)
人源神经干细胞治疗帕金森病的安全性和有效性临床研究
北京协和医院干细胞治疗中心
入组条件:
1、入组时年龄范围:50-75周岁(含临界值),性别不限;
2、诊断符合MDS临床确诊帕金森病;
3、 病程≥5年;
4、 根据MDS-UPDRS评分量表,药物治疗“开”期Hoehn-Yahr分级为3级;
5、入组前稳定使用等效多巴胺剂量≥300mg/日至少1月;
6、患者本人和/或其法定监护人同意参加本临床试验并签署知情同意书。
咨询电话:13241176613、13011828338
人源神经干细胞”治疗早发型帕金森病的临床研究
同济大学附属同济医院
入组条件:1、年龄30-65周岁(含临界值),性别不限;
2、临床诊断符合2015年国际运动障碍协会(MDS)制定的帕金森病诊断标准中的临床确诊的帕金森病;
3、病程≥5年,发病时年龄<50岁(含临界值);
4、修订的Hoehn-Yahr分级为2-4级;
5、出现异动症,包括疗效减退、开关现象、异动症等。
联系方式:13818659701/021-66111927
异体人源脂肪间充质祖细胞注射液”膝关节炎膝关节炎本项临床试验
临床试验主要研究者及研究中心
鲍春德 教授 上海交通大学医学院附属仁济医院
张长青 教授 上海市第六人民医院
易诚青 教授 上海市第一人民医院
万伟国 教授 复旦大学附属华山医院
王国春 教授 北京中日友好医院
严世贵 教授 浙江大学医学院附属第二医院
入组条件:
1、男性或女性,年龄40~75周岁;
2、确诊为膝骨关节炎,且膝关节疼痛明显,需服用止疼类药物;
3、病程在6个月到10年之间;
4、患者可以自主行走(日常生活中不使用轮椅、助行器或拐杖);
5、患者没有做过膝关节置换手术,并且在接下来的6个月内,也没有做膝关节镜手术或其它与膝关节操作有关的开放性手术的计划;
6;患者在过去的3个月内,没有进行过关节腔内药物注射治疗(比如:玻璃酸钠,激素,高渗糖等);
7、患者在过去的1个月内,没有服用过氨基葡萄糖和或硫酸软骨素类药物;
8、患者在过去的1个月内,没有使用过地塞米松、强的松、氢化可的松等激素类。
联系方式:
可前往上述六位专家的门诊进行咨询(可查询医院官网),也可拨打021-64030912进行沟通。
以上信息来源于医院网络和干细胞研究机构,仅供参考,不作商业用途。
扫码添加官方微信